
Für die Beschreibung des Last-Verformungs-Verhaltens stählerner Strukturen unter thermischer Beanspruchung (z.B. im Brandfall) ist die genaue Kenntnis der temperaturabhängigen mechanischen Eigenschaften essenziell. Die in DIN EN 1993-1-2 verankerten Daten sind hierbei für Strukturen aus dem klassischen konstruktiven Stahlbau unter Nutzung von Stählen gemäß aktueller Normung und für Temperatureinwirkungen bis ca. 700°C sicher anwendbar. Wird dieser Anwendungsbereich verlassen, liegen keine vollständigen und belastbaren Literaturangaben vor.
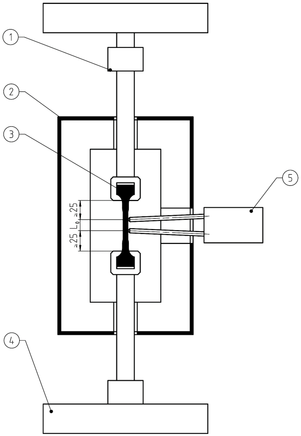
Für die Beschreibung des Tragverhaltens von Strukturen im konstruktiven Stahlbau bei moderaten Temperaturen und Stählen, die außerhalb der aktuellen Normung liegen, bieten wir Ihnen stationäre Heißzugversuche an. Hierbei wird bei einer gegebenen, konstanten Temperatur der Spannungs-Dehnungs-Zusammenhang bestimmt. Die Ergebnisse erlauben die Ermittlung von Abminderungsfaktoren der Kalt-Eigenschaften in Analogie zu DIN EN 1993-1-2.
Treten, beispielsweise bei ungeschützten, dünnwandigen Bauteilen, Temperaturen >700°C auf, werden zunehmend Heißkriecheffekte relevant. Um diese zu erfassen und das Last-Verformungs-Verhalten entsprechender Strukturen zutreffend beschreiben zu können, bieten wir Ihnen transiente Heißzugversuche an (z.B. gemäß EAD 280016-00-0602, Anhang J). Bei einer konstanten mechanischen Last wird in diesem Fall die Temperatur entsprechend der nachzuweisenden Temperatur-Zeit-Kurve erhöht und die Dehnungen kontinuierlich aufgezeichnet.
Ihre Ansprechpartnerin
Dr.-Ing. Susanne Reichel
T +49 (0)341 6582-106
F +49 (0)341 6582-135






